Skip Links

USGS - science for a changing world

U.S. Geological Survey Karst Interest Group Proceedings, Shepherdstown, West Virginia, August 20-22, 2002

TRACERS

Development of a Counterterrorism Preparedness Tool for Evaluating Risks to Karstic Spring Water

By Malcolm S. Field
U.S. Environmental Protection Agency, National Center for Environmental Assessment (8623D), Washington, DC 20460

Disclaimer: The views expressed in this paper are solely those of the author and do not necessarily reflect the views or policies of the U.S. Environmental Protection Agency.


Download PDF 227 kb Adobe Acrobat Reader is required to view the report and can be downloaded for free

Return to Table of Contents

Abstract

Terrorist attacks on the nation's drinking-water supplies remains a distinct possibility if not a probability. To guard against an attack, water managers must pursue a preparedness strategy that encompasses a range of operations (e.g., monitoring FBI warnings of potential attacks). One important aspect of a preparedness strategy is the need to define source water boundaries using standard delineation procedures. Of particular value are tracer tests conducted throughout the area for the purpose of defining recharge areas, solute-transport properties, and probable arrival concentrations. Because the hydrologic conditions and the mass of toxic substance (poison) will not be known until a release event actually occurs, release scenario simulations need to be conducted. The recently developed Efficient Hydrologic Tracer-test Design Program (EHTD) has been modified to provide water managers with the ability to conduct release scenario simulations. The simulations can be used to predict toxic substance arrival times (time to leading edge, time to peak, persistence), axial dispersion, dilution, and arrival concentrations. By combining the EHTD-simulation results with risk-assessment analyses for acute exposures, water managers can develop a set of alternatives as part of an overall strategy for protecting human health. This set of alternatives could range from no action (i.e., no significant concern) to disconnecting the water-supply system, announcing a no contact warning, and arranging for the supply of an alternative water source.

INTRODUCTION

Terrorist threats to the nations potable water supplies have recently become a major concern for the country. The events of September 11, 2001 (9/11) and subsequent anthrax attacks have proven the vulnerability of basic civilian infrastructures to terrorists. While the past attacks included the physical destruction of large structures housing significant populations by detonation and aerosol attacks on a smaller scale, the potential for a biological or chemical attack on important potable water supplies cannot be discounted (Burrows and Renner, 1999).

Current efforts intended to protect potable water supplies tend to focus on early warning systems (EWS) (Foran and Brosnan, 2000) to detect initial arrival of hazardous biological and chemical agents. While an improvement over conventional methods of tracking contaminated-water outbreaks (MacKenzie and others, 1994) EWSs may be regarded as inadequate in and by themselves.

Predicting when, and at what concentration a toxic substance released in the respective source area will reach a water-production facility is essential for water managers. The concern for managers of water-supply systems was recently aggravated by the realization that terrorists could deliberately release a toxic poison into their system with the potential to cause widespread illnesses, deaths, and panic before adequate protection measures could be activated. Whereas EWSs will certainly be beneficial when available, knowledge of the source area is critical.

Knowledge of source areas can lead to the installation of typical security apparatus (e.g., fences) and/or atypical security measures (e.g., armed security guards) which is most likely to be applied at large water-supply systems (Reed, 2001). Unfortunately, it appears that much of the country is of the misconception that only very large water-supply systems are threatened (USEPA, 2001) and then really only at the downstream outflow points beyond the water-treatment system. While this situation certainly worthy of concern, it is not a seriously realistic attack scenario.

Smaller municipal water systems where source areas are known to occur at some significant distance from the actual supply are potentially more vulnerable to attack because they are more difficult to define and protect. For example, a karst spring that is used as a municipal water supply and is known to be directly connected to a sinking stream, karst window, or sinkhole several kilometers away should be of significant concern to the local water managers. While these smaller suppliers may only serve a few thousand people at most, the potential for a terrorist attack causing illnesses, deaths, and widespread terror are very realistic.

The threats can be better assessed, however, if water managers have a general sense of potential solute-transport rates and likely receptor concentrations for a given release in a given source area. Reasonable predictions of solute-transport rates and concentrations will allow water managers to (1) provide for a higher level of physical security, (2) plan in advance in the event of a physical attack on their respective water system, and (3) actually implement the plan when an attack does occur.

The purpose of this paper is to outline a method for a proactive approach to protecting ground-water supplies, particularly in karstic terranes. A hypothetical scenario is used to illustrate the value of the approach presented.

SOURCE-WATER PROTECTION

Perhaps the most critical element necessary for protecting the nation's drinking-water supplies is source-water protection. Source-water protection consists of delineating the sources of water, inventorying potential sources of contamination in those areas, and making susceptibility determinations (USEPA, 1997, p. 1-11).

Source-Water Delineation

The most basic aspect of source-water protection is source-water delineation, which is nothing more than mapping out the recharge or catchment area from which the water is derived. This can take the form of mapping surface-water divides on a topographic map for surface-water source delineation to comprehensive  quantitative-tracing studies for ground-water source delineation. Detailed guidance's on source-water delineation may be found in USEPA (1987), Bradbury and others (1991), and Schindel and others (1997), but only Schindel and others (1997) provides a detailed guidance on the use of tracer test methods for source-water delineation. Field (2002a) and Mull and others (1988) provide detailed discussions on quantitative tracer testing for more comprehensive evaluations of hydrologic systems.

Quantitative tracer testing is the most reliable method for source-water delineation, especially in karstic terranes. The basic methodology consists of releasing a known quantity of tracer material into a source-water location (e.g., karst sinkhole) and recovering the tracer at a downstream location (e.g., karst spring). By repeating this procedure at several tracer-injection sites and recovering the tracer at all possible recovery locations, a clear delineation of source water is established.

EFFICIENT HYDROLOGIC TRACER-TEST DESIGN

To better facilitate tracer testing in hydrologic systems, a new Efficient Hydrological Tracer-test Design (EHTD) methodology has been developed (Field, 2002b). Application of EHTD to a study site resulted in successful tracer tests and showed that good tracer-test design can be developed prior to initiating a tracer test (Field, 2000, p. 26). Subsequent comparison analyses documented the ability of EHTD to predict tracer test results (Field, 2002c).

Basic Design of EHTD

EHTD is based on the theory that field-measured parameters (e.g., discharge, distance, cross-sectional area) can be combined in functional relationships that describe solute-transport processes related to flow velocity and times of travel. EHTD applies these initial estimates for times of travel and velocity to a hypothetical continuous stirred tank reactor (CSTR) as an analog for the hydrological-flow system to develop initial estimates for tracer concentration and axial dispersion based on a preset average tracer concentration. Root determination of the one-dimensional advection-dispersion equation (ADE) using the preset average concentration then provides a theoretical basis for an estimate of necessary tracer mass. Applying the predicted tracer mass with the hydraulic and geometric parameters in the ADE allows for an approximation of initial sample-collection time and subsequent sample-collection frequency where 65 samples have been empirically determined to best describe the predicted breakthrough curve (BTC).

Range of Capabilities of EHTD

Recognizing that solute-transport processes operative in hydrological systems all follow the same basic theoretical principles suggests that an appropriate model for estimating tracer mass would function effectively for all hydrological systems. However, such a model would need to be able to account for differences in the nature of the flow systems (e.g., effective porosity) and the manner in which the tracer test is conducted (e.g., tracer-release mode).

Breakthrough curves predicted using the tracer-test design program, EHTD, for various hydrological conditions have been shown to be very reliable (Field, 2002c). The hydrological conditions used to evaluate EHTD ranged from flowing streams to porous-media systems so that the range of capabilities of EHTD could be assessed  Comparisons between the actual tracer tests and the results predicted by EHTD showed that EHTD adequately predicted tracer breakthrough, hydraulic characteristics, and sample-collection frequency in most instances.

PREDICTING THE EFFECTS OF A TOXIC RELEASE

The effect of accidental and deliberate releases of toxic substances to drinking-water supplies need to be predicted if water managers are to initiate appropriate actions should a release occur. EHTD can be used to predict the effects of a toxic-substance release once source-water areas have been established. By using the same measured or estimated parameters intended for tracer-mass estimation and entering a solute mass for EHTD to use, solute-transport parameters and downstream arrival concentrations are predicted.

Prediction methodologies have previously been developed (Kilpatrick and Taylor, 1986; Taylor and others, 1986; and Mull and others 1988), but these previous methods required considerably more time and effort. Additionally, these previous methods tended to overestimated downstream concentrations when attempts were made to reproduce measured results. EHTD, however, reliably reproduces known results.

Methodology

EHTD predicts the effects of a toxic-substance release by initially predicting solute-transport parameters and estimated solute mass as described in Field (2002b). EHTD was modified for a third-type inlet condition  to conserve mass (Toride and others, 1995, p. 5). Additional modifications allow for consideration of continuos initial concentration and exponential production (Toride and others, 1995, pp. 9-14). Entering a solute mass directly causes the preset average concentration C to be overridden and a new C to be predicted.

Upon entering a solute mass, EHTD proceeds using the measured parameters and calculated functional relationships (Field, 2002b). A typical breakthrough curve representing the downstream effects of the release is then produced. For pathogen releases, simple conversions for mass and concentration need to be undertaken, however.

EXPERIMENTAL EXAMPLE

To evaluate the ability of EHTD to predict the effects of a deliberate release of a chemical or biological agent, a karstic aquifer in which a relatively small spring is used for drinking water is investigated. Tracer tests have established the connection between a distant karst window and the spring, which serves to illustrate the vulnerability of such a water supply to a terrorist attack.

Hydrologic System

The example system considered here consists of a karst window in which the stream flowing at the base of the window has been connected through tracing tests to a spring used by a small city for drinking-water supplies. The karst window is not far from a major  thoroughfare and is easily accessible. Basic measured field parameters necessary for EHTD prediction are shown in Table 1 with associated functional relationships and related transport parameters. All measured parameters listed in Table 1 were calculated directly from one tracer test in the flow system which may not be representative of  the system at different times and hydrologic conditions. Also, it is very unlikely that the solution conduit maintains a straight line so that a sinuosity factor Sf ~ 1.3 is usually multiplied to the straight-line distance, but was not done so here. Tracer retardation Rd and tracer decay m were subsequently developed to account for delayed arrival times and significant tracer loss (~35%).


Table 1. Tracer-test design parameters

Parameter Measured Predicted

Field Parameters
Release Mode Impulsea Impulsea
Q, m3 h-1 1.16 x 102 1.16 x 102
Lb m 9.14 x 102 9.14 x 102
A, m2 1.84 x 100 1.84 x 100
C, mg L-1 4.10 x 100 4.10 x 100
Cp, mg L-1 4.10 x 100 4.10 x 100
Functional Relationships
tp, hours 1.45 x 101 1.39 x 101
t, hours 1.72 x 101 1.45 x 101
u p, m h-1 6.30 x 101 6.57 x 101
u, m h-1 5.31 x 101 6.30 x 101
V, m3 1.99 x 103 1.77 x 103
Axial Dispersion
D, m2 h-1 3.28 x 102 6.60 x 102
Pe 1.50 x 102 8.73 x 102
Tracer Reaction
Rd 1.00 x 100 1.05 x 100
m, h-1 0.00 x 100 1.80 x 10-2

aInstantaneous release = Dirac (δ) function.
bTransport distance = straight-line distance
   

Cursory examination of the measured parameters and functional relationships shows that transport rates are quite high, dispersion is significant, and transport is strongly dominated by advective forces rather than diffusive forces.

The impact of these parameters is that a release of a toxic substance in this area will arrive quickly at the water-supply spring with relatively little dispersion. Discrepancies between the measured and predicted arrival times were adjusted by setting Rd = 1.05 in EHTD.

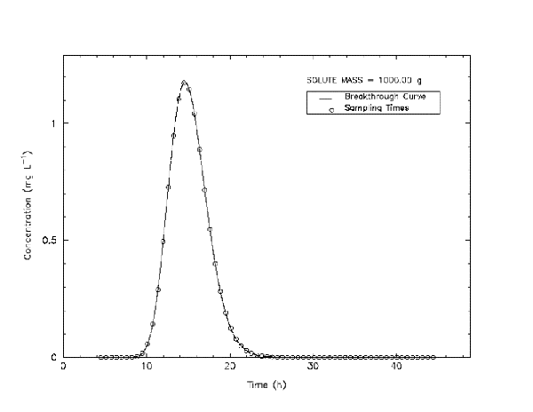
Applying the measured parameters and tracer-reaction values to EHTD resulted in a visually acceptable fit between the EHTD-predicted BTC and the measured BTC (Figure 1). The actual mass of tracer released, 3.57 g, was closely approximated by EHTD (3.56 g) when appropriate tracer reactions were considered.


Figure 1. Comparison of measured data for the site tracer test with EHTD predicted results.
Figure 1. Comparison of measured data for the site tracer test with EHTD predicted results. Circles represent actual sample-collection times and triangles represent EHTD-recommended sample-collection times.

Chemical/Biological Release Examples

Consider two possible toxic releases into a water-supply system. A potentially deadly pathogen might include Vibrio cholerae while a potentially deadly chemical substance that could be released might include Compound 1080 (fluoroacetic acid [CAS NUMBER: 62-74-8]). Compound 1080 is a highly toxic pesticide (NOAEL = 0.05 mg kg-1 d-1; LOAEL = 0.2 mg kg-1 d-1; and human LD50 = 2-5 mg kg-1) used to control rodents and coyotes.

Acquisition of a toxic chemical is not difficult; on May 10, 2002 7.6 tons (6895 kg) of sodium cyanide were hijacked in Hidalgo State, Mexico. Although the majority of the NaCN was recovered and was probably stolen by mistake, this instance serves to illustrate the likelihood that highly toxic compounds may easily fall into the hands of would-be terrorists (Jordan, 2002).

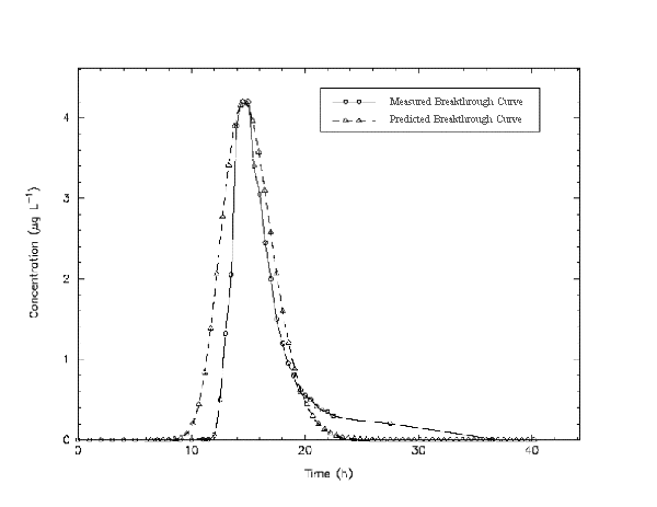
Release of Compound 1080

Suppose just 1 kg of Compound 1080 were to be deliberately released into the flow system. Such a release would result in a significant downstream peak concentration (Figure 2). A peak concentration of 1.18 mg L-1 is sufficiently large as to warrant an acute risk assessment be conducted.


Figure 2. Breakthrough curve results from release of 1 kg of Compound 1080. Circles represent EHTD-recommended sample-collection times.
Figure 2. Breakthrough curve results from release of 1 kg of Compound 1080. Circles represent EHTD-recommended sample-collection times.

Compound 1080 Risk Assessment

A release 1 kg of Compound 1080 resulting in a peak concentration downstream of the release site equal to 1.18 mg L-1 can be assessed for its impact on human health by conducting a standard risk assessment. An acute exposure assessment for ingestion E1 is

equation 1

where Cp = 1.18 mg L-1, Ig = 1.4 L d-1, and Bw = 70 kg. It's associated hazard quotient HQ1 is estimated from (Field, 1997)

equation 2

An acute exposure assessment for inhalation E2 is estimated from (Field, 1997)

equation 3

where Ih = 0.6 m3 h-1, Wu = 719 L, Sd = 0.17 h, Va = 2 m3, and Fr = 1 each day. It's associated hazard quotient, HQ2 is estimated from (Field, 1997)

equation 4

Lastly, an acute exposure assessment for dermal contact E3 is estimated from (Field, 1997)

equation 5

where Sa = 1.82 x 104 cm2, Pc = 0.074 cm h-1, and Kf = 10-3 L cm-3. It's associated hazard quotient HQ3 is estimated from (Field, 1997)

equation 6

where Ae = 20%. The hazard index HI is then obtained by summing all the previously estimated hazard quotients (Field, 1997)

equation 7

Table 2 shows the basic exposure and risk numbers associated with the Compound 1080 release. The resulting Hazard Index HI of 2.69 x 103 is high enough to warrant significant concern by a water manager. A HI > 1 is reason for concern so a HI > 103 should probably prompt the water manager to issue a no use warning.


Table 2. Acute risk assessment for Compound 1080

Pathway  Exposure
Assessment
(mg kg-1 d-1)
Hazard
Quotient
(dimen.)
Ingestiona 2.35 x 10-2 1.18 x 103
Inhalationb 6.15 x 10-4 1.50 x 103
Dermal 9.22 x 10-5 2.31 x 101
 
  Hazard Index, HI = 2.69 x 103

aRfD = 2.0 x 10-5 mg kg-1 d-1.
bRfC = 2.0 x 10-6 mg m-3 (assumed).

Release of Vibrio cholerae

It has been suggested that it would be very difficult for terrorists to release a deadly pathogen into drinking-water supplies in sufficient quantities to cause serious illness because of the large volume necessary. Consider a one quart thermos (suggested by Hickman, 1999 as a logical container) with a 2.5% concentration of V. cholerae (enteric gram-negative rods bacteria ~2-4 mm long). The actual concentration Np of cholera in the thermos may be calculated by

equation 8

where a = 3.0 mm, b = 0.5 mm, and rp = 1.05 g cm-3. For a Cc = 2.5% concentration, Np = 2.02 x 1010 mL-1. The mass Mp for an individual cholera particle may be calculated by

equation 9

Which results in Mp = 1.24 x 10-12 g. The total mass of all the cholera particles MTp is then calculated by

equation 10

Where V = 946 mL (one quart thermos) results in MTp = 23.70 g which appears to be a relatively small amount. Applying this value for MTp to EHTD with an initial V. cholerae concentration of 5.08 x 10-1 mL-1 and allowing for exponential growth results in a Cp = 27.94 mg L-1 (Figure 3) which translates into a downstream particle concentration Np = 2.26 x 104 mL-1.


Figure 3. Breakthrough curve results from release of 23.70 g of  V. cholerae. Circles represent EHTD-recommended sample-collection times.
Figure 3. Breakthrough curve results from release of 23.70 g of  V. cholerae. Circles represent EHTD-recommended sample-collection times.

Vibrio cholerae Risk Assessment

A release 23.70 g of V. cholerae resulting in a peak concentration downstream of the release site equal to 27.94 mgL-1 can be assessed for its impact on human health by determining the probability of infection PI by use of the beta-poisson model (Haas, 1983)

equation 11

where a = 0.25 and N50 = 243 for V. cholerae (Haas and others, 1999, p. 430). Equation (4) may be related to the probability of morbidity PD:I (clinical illness) by (Haas and others, 1999, p. 306)

equation 12

where a* = 0.495 and N*50 = 3364 for V. cholerae (Haas and others, 1999, p. 308). The probability of mortality PM:D by (Gerba and others, 1996)

equation 13

where Fa = 0.01% although evidence in support of this equation is conspicuously lacking. Table 3 shows the risks associated with the V. cholerae release. While the values for PI, PD:I, and PM:D for a single individual may be taken as fairly low, they are significant given the very small volume (946 mL) released. For an exposed population of 10,000 people, the severity of the risks become apparent where nearly every exposed individual will become infected and will exhibit morbidity (Table 3) if chlorination is shut-down as a result of sabotage or is rendered ineffective through weaponization and/or bioengineering.


Table 3. Acute risk assessment for V. cholerae

Population Risk of
Infection, PI
Risk of
Illness, PD:I
Risk of
Death, PM:D

Individual 9.76 x 10-1 9.95 x 10-1 9.95 x 10-5
10,000 9.76 x 103 9.95 x 103 9.95 x 10-1

Typical water chlorination readily kills V. cholerae, but weaponization of V. cholerae could make it resistant to chlorination and other disinfectants. Vibrio cholerae is well-documented to form biofilms with individual organisms taking a rugose form which increases its resistant to typical chlorination and possibly other disinfectants (Sanchez and Taylor 1997; Wai and others, 1999; Reidl and Klose, 2002). Cholera survival in drinking water may be further exacerbated by inadequate water- treatment plant chlorination (O'connor, 2000, pp. 106-107) or water-treatment plant sabotage (Hickman, 1999).

CONCLUSIONS

Terrorist attacks on drinking-water supplies must be regarded as inevitable. While basic security efforts are useful, it is beneficial to conduct simulation studies of possible releases of toxic substances so as to gain insights into the nature of potential threats. The tracer-test design program, EHTD was modified to use in conducting model simulations of potential attacks. Modifications consisted of conversion to a third-type inlet condition for resident concentrations, inclusion of routines for uniform initial (background) concentration and exponential production (growth) parameters, and the ability to bypass preset C. When run with user-selected solute-mass as input, EHTD bypasses the preset C to allow for prediction of downstream concentrations. Initial solute concentrations and/or exponential production may significantly affect the final concentration estimates if these entered values are substantial.

By conducting basic model simulations studies, water managers can also develop standard risk assessments for chemical and biological attacks on their drinking-water supplies. By developing basic risk assessments, water managers can gain a general sense as to how vulnerable their respective water supplies are to various types toxic contaminants and release amounts. Assessment of the vulnerabilities can then be used to develop human health protection-strategies (e.g. boil water or don't drink health advisories) for use in the event of a terrorist attack.

While not a preventative counterterrorist tool similar to the posting of armed guards, the methodology described is useful for predicting events and for developing protection plans. It is expected, however, that this methodology will be just one small piece in the arsenal of tools available to water managers as they continue to develop protection programs for the nation's drinking-water supplies.

NOTATION

a long dimension of rod-shaped particle (L)
a slope parameter for median infection estimate
a* slope parameter for median infection estimate
A cross-sectional area of flow system (L2)
Ae estimated adsorption efficiency (dimen.)
b short dimension of rod-shaped particle (L)
Bw body weight for an adult (M)
C mean volume-averaged tracer concentration (M L-3)
Cc concentration for a prepared volume of particulate matter (%)
Cp peak tracer concentration (M L-3)
D axial dispersion (L2 h-3)
E1 acute exposure for ingestion of a chemical (M M-1 T-1)
E2 acute exposure for inhalation of a chemical (M M-1 T-1)
E3 acute exposure for dermal contact with a chemical (M M-1 T-1)
Fa fatality rate value (dimen.)
Fr frequency of showers (T)
HI hazard index for all pathways (dimen.)
HQ1 hazard quotient for ingestion (dimen.)
HQ2 hazard quotient for inhalation (dimen.)
HQ3 hazard quotient for dermal contact (dimen.)
Ig amount of ingested water per day (L3 T-1)
Ih inhalation rate (L3 T-1)
Kf volumetric conversion for water (L3L-3)
L characteristic distance from point of injection to point of recovery (L)
M solute mass (M)
Mp particle mass (M)
MTp mass of total number of particles (M)
n number of hazard quotients to sum
N50 median infectious dose (# T-1)
N*50 median morbidity dose (# T-1)
Np concentration of particles (# L-3)
ne effective porosity (dimen.)
rp particle density (M L-3)
Pc skin permeability constant (L T-1)
Pe Péclet number (dimen.)
PI probability of infection (dimen.)
PD:I probability of morbidity (dimen.)
PM:D probability of mortality (dimen.)
Q flow system discharge (L3 T-1)
Rd solute retardation  (dimen.)
RfC reference concentration (M L-3)
RfD reference dose (M M-1 T-1)
Sa skin surface area (L2)
Sd shower duration (T)
Sf sinuosity factor
t mean residence time (T)
tp peak arrival time (T)
m solute decay (T-1)
u average flow velocity (L T-1)
up peak flow velocity (L T-1)
V volume (L3)
Va shower stall volume (L3)
Wu water usage (L3)

REFERENCES

Bradbury, K. R., Muldoon, M. A.,  Zaporozec, A., and Levy, J., 1991, Delineation of wellhead protection areas in fractured rocks, U.S. Environmental Protection Agency Tech. Rep. EPA 570/9-87-009, 144 p.

Burrows, W. D. and Renner, S. E., 1999, Biological warfare agents as threats to potable water, Environmental Health Perspectives, 107(12) pp. 975-984.

Field, M. S., 1997, Risk assessment methodology for karst aquifers: (2) Solute-transport modeling Environmental Modeling and Assessment, 47, pp. 23-37.

_______2000, Ground-water tracing and drainage basin delineation for risk assessment mapping for spring protection in Clark County, Virginia, U.S. Environmental Protection Agency Tech. Rep. NCEA-W-0936, 36 p.

_______2002a, The QTRACER2 program for tracer breakthrough curve analysis for hydrological tracer tests, U.S. Environmental Protection Agency Tech. Rep. EPA /600/R-02/001, 179 p.

_______2002b, Efficient hydrologic tracer-test design for tracer-mass estimation and sample-collection frequency, 1. Method development, Environmental Geology [in press]

_______2002c, Efficient hydrologic tracer-test design for tracer-mass estimation and sample-collection frequency, 2. Experimental results, Environmental Geology [in press]

Foran, J. A. and Brosnan, T. M., 2000, Early warning systems for hazardous biological agents in potable water, Environmental Health Perspectives, 108(10), pp. 979-982.

Gerba, C. P., Rose, J. B., Haas, C. N., and Crabtree, K. D., 1996, Waterborne rotavirus: A risk assessment, Water Research 30(12), pp. 2929-2940.

Haas, C. N., 1983, Estimation of risk due to low doses of microorganisms: A comparison of alternative methodologies, American Journal of Epidemiology, 118, pp. 573-582.

Haas, C. N., Rose, J. B. and Gerba, C. P., 1999, Quantitative Microbial Risk Assessment, John Wiley & Sons, Inc., New York, 449 p.

Hickman, D. C., 1999, A chemical and biological warfare threat: USAF water systems at risk, http://www.au.af.mil/au/awc/awcgate/cpc-pubs/hickman.htm, U.S. Air Force Counterproliferation Center, Air War College, Air University, Maxwell Air Force Base, Ala., 28 p.

Jordan, M., 2002, Mexicans search for lost cyanide, Washington Post, (May 28, 2002), p. A13.

Kilpatrick, F. A. and Taylor, K. R., 1986, Generalization and applications of tracer dispersion data, Water Resources Bulletin, 22(4), pp. 537-548.

MacKenzie, W. R., Hoxie, N. J., Proctor, M. E., Gradus, M. S., Blair, K. A., Peterson, D. E., Kazmierczak, J. J., Addiss, D. G. and Fox, K. R., Rose, J. B. and Davis, J. P., 1994, A massive outbreak in Milwaukee of Cryptosporidium infection transmitted through the public water supply, The New England Journal of Medicine, 331(3), pp. 161-167.

Mull, D. S., Liebermann, T. D., Smoot, J. L. and Woosley Jr., L. H., 1988, Application of dye-tracing techniques for determining solute-transport characteristics of ground water in karst terranes, U.S. Environmental Protection Agency Tech. Rep. EPA/904/9-88-001, 103 p.

O'connor, D. R., 2000, Report of the Walkerton inquiry: The events of May 2000 and related issues, Part 1, Ministry of the Attorney General, Toronto, Ont., Canada, 504 p.

Reidl, J. and Klose, K. E., 2002, Vibrio cholerae and cholera: Out of the water and into the host, FEMS Microbiological Letters, 741, pp. 1-15.

Reed, C., 2001, Security measures on tap, Geotimes, 46(12), pp. 26-28.

Sanchez, J. L. and Taylor, D. N., 1997, Cholera, The Lancet, 349, pp. 1825-1830.

Schindel, G. M., Quinlan, J. F., Davies, G. and Ray, J. A., 1997, Guidelines for wellhead and springhead protection area delineation in carbonate rocks, U.S. Environmental Protection Agency Tech. Rep. EPA/904/B-97/003.

Taylor, K. R., James, R. W. J. and Helinsky, B. M., 1986, Traveltime and dispersion in the Shenandoah River and its tributaries, Waynesboro, Virginia to Harpers Ferry, West Virginia, U.S. Geological Survey Water-Resources Investigations Rep. 86-4065, 60 p.

Toride, N., Leij, F. J., and van Genuchten, M. Th., 1995, The CXTFIT code for estimating transport parameters from laboratory or field tracer experiments, U.S. Salinity Laboratory Research Report No. 137, 121 p.

USEPA, 1987, Guidelines for delineation of wellhead protection areas, U.S. Environmental Protection Agency Tech. Rep. EPA 4401/6-87-010, 209 p.

USEPA, 1997, State source water assessment and protection programs, U.S. Environmental Protection Agency Tech. Rep. EPA 816-R-97-009.

USEPA, 2001, Protecting the Nation's water supplies from terrorist attack: Frequently asked questions, U.S. Environmental Protection Agency Tech. Rep.

Wai, S. N., Mizunoe, N. Y., and Yoshida, S., 1999, How Vibrio cholerae survive during starvation, FEMS Microbiological Letters, 180, pp. 123-131.


U.S.Geological Survey Karst Interest Group Proceedings,Shepherdstown,West Virginia, August 20-22, 2002, Water-Resources Investigations Report 02-4174

The use of firm, trade, and brand names in this report is for identification purposes only and does not consitute endorsement by the U.S. Government.


For additonal information write to:

Regional Hydrologist
Southeast Regional Office
3850 Holcomb Bridge Road
Suite 160
Norcross, GA 30092
Copies of this report can be obtained online from:

Office of Ground Water
U.S. Geological Survey
http://water.usgs.gov/ogw/karst/

Accessibility FOIA Privacy Policies and Notices

Take Pride in America logo USA.gov logo U.S. Department of the Interior | U.S. Geological Survey
URL: http://pubsdata.usgs.gov/pubs/wri/2002/4174/msf_development.html
Page Contact Information: GS Pubs Web Contact
Page Last Modified: Friday, 25-Oct-2024 11:27:47 EDT